NISSAN 240sx, Silvia (S15) 1999-2002

750 руб.
Быстрый заказ

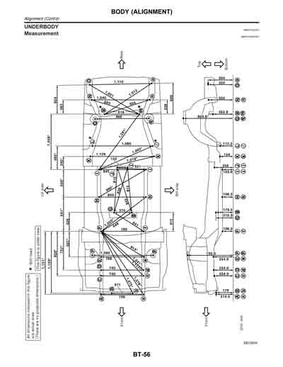
Контрольные кузовные размеры NISSAN 240sx, Silvia (S15) 1999-2002:
- Из заводского руководства по ремонту кузова NISSAN Silvia / 240sx (S15)
, в том числе диагональные размеры проемов кузова Ниссан Сильвия.
Файл NISSAN_Silvia_240sx_(S15)_1999-2002-kuzov.pdf

Обратите внимание: все файлы многостраничные.
В галереи товара представлены эскизы изображений уменьшенного объема.
Покупателю высылаются PDF файлы исходного качества.