KIA Cerato, Spectra (LD) 2004-2008

750 руб.
Быстрый заказ

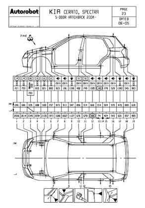
Контрольные кузовные размеры моделей Седан и Хэтчбек KIA Cerato/Spectra (LD) 2004–2008​
- Из заводского руководства по ремонту кузова KIA Cerato Body Repair Manual, в том числе диагональные размеры проемов кузова и контрольные точки для восстановления геометрии кузова Киа Церато.
Файл KIA_Cerato_LD_ Sedan_HB_2004-2008_plant.pdf

- Проекционные геометрические размеры кузова с привязкой к стапелю. Дополнительно приведены цветные фотографии мест расположения контрольных точек KIA Cerato на реальном автомобиле.
Файлы
KIA_Cerato_Spectra_LD_HB_2004-2007.pdf
KIA_Cerato_Spectra_LD_Sedan_2004-2007

- Геометрические размеры кузова KIA Spectra 2004–2008, как проекционные, так и непосредственного измерения, в том числе диагональные размеры проемов кузова и контрольные точки для восстановления геометрии кузова Киа Спектра.
Файлы
KIA_Spectra_2004_sedan_USANewBodyStyle.pdf
KIA_Spectra_Sedan_2005_USA

Обратите внимание: все файлы многостраничные.
В галереи товара представлены эскизы изображений уменьшенного объема.
Покупателю высылаются PDF файлы исходного качества.