KIA Carens, Rondo (UN) 2007-2012

750 руб.
Быстрый заказ

Контрольные кузовные размеры KIA Carens/Rondo (UN) 2007-2012​
- Из заводского руководства по ремонту кузова Body Repair Manual, в том числе диагональные размеры проемов кузова и контрольные точки для восстановления геометрии.
Файл Carens_(UN)_2007-2012-kuzov.pdf

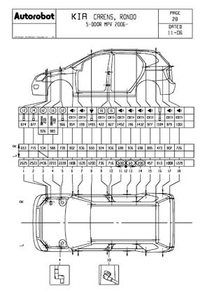
- Проекционные геометрические размеры кузова с привязкой к стапелю. Дополнительно приведены цветные фотографии мест расположения контрольных точек KIA Carens/Rondo на реальном автомобиле.
Файл CARENS_5-DOOR_MPV_2006-stapel.PDF

- Геометрические размеры кузова KIA Rondo, как проекционные, так и непосредственного измерения, в том числе диагональные размеры проемов кузова и контрольные точки для восстановления геометрии кузова.
Файл 2008_KIA_Rondo__4DR__Hatchback.pdf

Обратите внимание: все файлы многостраничные.
В галереи товара представлены эскизы изображений уменьшенного объема.
Покупателю высылаются PDF файлы исходного качества.