KIA Carens (FJ) 2002-2006

750 руб.
Быстрый заказ

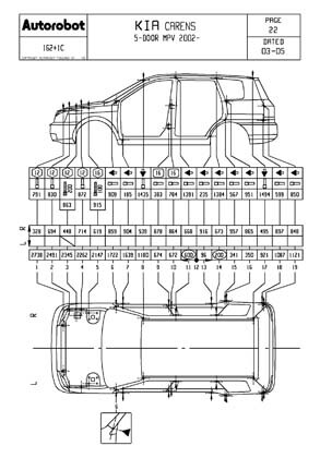
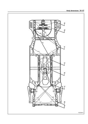
Контрольные кузовные размеры KIA Carens  (FJ) 2002-2006
- Из заводского руководства по ремонту кузова Body Repair Manual, в том числе диагональные размеры проемов кузова и контрольные точки для восстановления геометрии.
Файл Carens_(FJ)_2002-2006-kuzov.pdf

- Проекционные геометрические размеры кузова Kia Carens с привязкой к стапелю. Дополнительно приведены цветные фотографии мест расположения контрольных точек на реальном автомобиле.
Файл CARENS_5-D_MPV_2002-2006-stapel.PDF

Обратите внимание: все файлы многостраничные.
В галереи товара представлены эскизы изображений уменьшенного объема.
Покупателю высылаются PDF файлы исходного качества.