HONDA Ridgeline 2005-2009-2014

750 руб.
Быстрый заказ

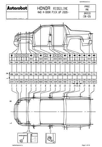
Контрольные кузовные размеры HONDA Ridgeline 2005-2014 из официального руководства по ремонту кузова. Содержат размеры верхней и нижней части кузова, в том числе размеры моторного отсека, диагональные размеры проемов кузова, размеры подрамников и контрольные точки для восстановления геометрии кузова. Даны значения допустимых зазоров кузовных панелей.
Файл HONDA_Ridgeline_2006-2014.pdf

- Геометрические размеры кузова HONDA Ridgeline 2005-2009-2014, как проекционные, так и непосредственного измерения, в том числе диагональные размеры проемов кузова и контрольные точки для восстановления геометрии кузова.
Файлы
2008_Honda_Ridgeline.pdf
2013_Honda_Ridgeline.pdf

- Проекционные размеры с привязкой к стапелю. Дополнительно приведены цветные фотографии мест расположения контрольных точек на реальном автомобиле.
Файл RIDGELINE_4WD_4-DOOR_PICK_UP_2005--.PDF

Обратите внимание: все файлы многостраничные.
В галереи товара представлены эскизы изображений уменьшенного объема.
Покупателю высылаются PDF файлы исходного качества.