HONDA Passport 2019-2021-2025

750 руб.
Быстрый заказ

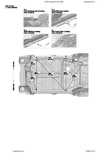
Контрольные кузовные размеры HONDA Passport 2019-2021-2025 из официального руководства по ремонту кузова. Содержат размеры верхней и нижней части кузова, в том числе размеры моторного отсека, диагональные размеры проемов кузова, размеры подрамников и контрольные точки для восстановления геометрии кузова. Даны значения допустимых зазоров кузовных панелей.
Файл HONDA_Passport_2019-2025.pdf

- Геометрические размеры кузова HONDA Passport 2019-2025 , как проекционные, так и непосредственного измерения, в том числе диагональные размеры проемов кузова
Файл 2021_Honda_Passport.pdf

Обратите внимание: все файлы многостраничные.
В галереи товара представлены эскизы изображений уменьшенного объема. Покупателю высылаются PDF файлы исходного качества.